Statistics: # IMAGE NPIX MEAN RMS MIN MAX ACIS_oct02 6004901 6.932 17.500 0.0 7009.0 I2 node 0 262654 4.678832 4.976834 0.0 190.0 I2 node 1 262654 5.966252 10.069485 0.0 356.0 I2 node 2 262654 6.950913 14.775791 0.0 444.0 I2 node 3 262654 7.560205 19.232395 0.0 562.0 I3 node 0 262654 7.610830 18.608114 0.0 537.0 I3 node 1 262654 7.148191 14.240607 0.0 436.0 I3 node 2 262654 5.808646 9.552370 0.0 302.0 I3 node 3 262654 4.328546 4.582651 0.0 174.0 S2 node 0 262397 7.481358 4.164806 0.0 99.0 S2 node 1 262397 10.327203 28.588047 0.0 561.0 S2 node 2 262397 10.931905 14.632553 0.0 463.0 S2 node 3 262397 14.102650 29.205095 0.0 452.0 S3 node 0 262397 14.723926 28.714335 0.0 441.0 S3 node 1 262397 18.290865 36.717678 0.0 628.0 S3 node 2 262397 14.162822 18.654024 0.0 254.0 S3 node 3 262397 11.238356 10.210622 0.0 134.0
Statistics: IMAGE NPIX MEAN RMS MIN MAX ACIS_total 6004901 334.819 600.219 0.0 479318.0 I2 node 0 262654 206.825965 164.570922 59.0 9379.0 I2 node 1 262654 248.698935 347.369392 140.0 11267.0 I2 node 2 262654 285.120261 536.320550 166.0 15623.0 I2 node 3 262654 308.247851 707.842978 0.0 19152.0 I3 node 0 262654 331.314456 704.127285 171.0 18846.0 I3 node 1 262654 304.208716 527.062555 170.0 14896.0 I3 node 2 262654 255.728986 340.718987 69.0 10875.0 I3 node 3 262654 203.502619 149.767297 0.0 6020.0 S2 node 0 262397 398.488321 338.333043 138.0 51514.0 S2 node 1 262397 505.588875 1291.410140 160.0 24898.0 S2 node 2 262397 454.831522 317.157122 188.0 155157.0 S2 node 3 262397 449.168649 103.522467 0.0 1175.0 S3 node 0 262397 857.474339 632.117671 233.0 4784.0 S3 node 1 262397 1057.725443 730.529498 0.0 69723.0 S3 node 2 262397 747.646101 184.316418 243.0 27320.0 S3 node 3 262397 630.552861 149.519812 0.0 4559.0
Observations with cold radiator temperature deviation larger than 0.5 C from the nominal value of -127.92905 C are dropped (after DOM 200).
Mean CTI observed when FPT~ -119 C and no testing modes (Squeegy, cuckoo, etc.) (average of 4 nodes per chip). CTI's are computed for Mn K alpha, and defined as slope/intercept x10^4 of row # vs ADU. Data file here



CTI slopes were computed for data point after DOM 200 and inside of 1 sigma deviation. Using only data point in 1 sigma range, we drop high temperature observations, squeegy observations, and other outliers. A independent variable is date, and a dependent variable is CTI. Note: Unit is cti/day from this month report. Front Side Illuminated S Array Node 0 Node 1 Node 2 Node 3 CCD4 9.388e-9 1.187e-8 1.250-e8 1.065e-8 CCD6 1.067e-8 1.214e-8 1.234e-8 1.101e-8 CCD8 8.870e-9 9.887e-9 8.370e-9 8.226e-9 CCD9 9.244e-9 1.224e-8 1.191e-8 8.3243-9 AVG 9.984e-9 Front Side Illuminated I Array Node 0 Node 1 Node 2 Node 3 CCD0 8.648e-9 1.143e-8 1.099e-8 9.165e-9 CCD1 8.739e-9 1.082e-8 1.051e-8 8.392e-9 CCD2 9.284e-9 1.120e-8 1.137e-8 8.353e-9 CCD3 8.703e-9 1.072e-8 1.057e-8 9.363e-9 AVG 9.067e-9 Back Side Illuminated S Array (not detrended) Node 0 Node 1 Node 2 Node 3 CCD5 4.521e-9 5.005e-9 4.828e-9 2.971e-9 AVG: 4.144e-9 CCD7 2.576e-9 3.825e-9 3.972e-9 2.665e-9 AVG 3.284e-9
The Mean (max) FPT: -118.41 std dev: 0.87
mean width: 0.45 std dev: 0.32
| DOY | Focal Temp | S.D. |
|---|---|---|
| 275.15 | -118.09 | 0.31 |
| 277.79 | -115.83 | 0.42 |
| 279.40 | -119.06 | 1.04 |
| 270.66 | -118.25 | 1.29 |
| 285.20 | -119.22 | 0.30 |
| 285.83 | -119.22 | 0.17 |
| 288.36 | -118.09 | 0.54 |
| 291.94 | -119.06 | 0.68 |
| 293.63 | -119.22 | 0.17 |
| 295.66 | -119.22 | 0.24 |
| 296.08 | -117.77 | 0.34 |
| 296.46 | -118.90 | 0.26 |
| 298.93 | -118.25 | 0.42 |
| 301.59 | -118.09 | 0.49 |
| 304.12 | -117.93 | 0.12 |
Warm pixels consistently showed a bias level more than 5 sigma away the chip's mean level during this period.
Hot Pixels - About five new hot pixels observed this month.
Previously reported:
We define a hot pixel as a pixel with the count
rate 1000 counts above the average
IMAGE NPIX MEAN STDDEV MIN MAX
NO HRC-I OBSERVATIONS THIS MONTH.
IMAGE NPIX MEAN STDDEV MIN MAX
HRCI_08_1999_10_2002.fits 16777216 1.42135 3.45826 0.0 465.0
IMAGE NPIX MEAN STDDEV MIN MAX
HRCS_10_2002.fits 16777216 0.03351 0.21247 0.0 16.0
IMAGE NPIX MEAN STDDEV MIN MAX
HRCS_08_1999_10_2002.fits 16777216 4.64088 11.16418 0.0 1821.0
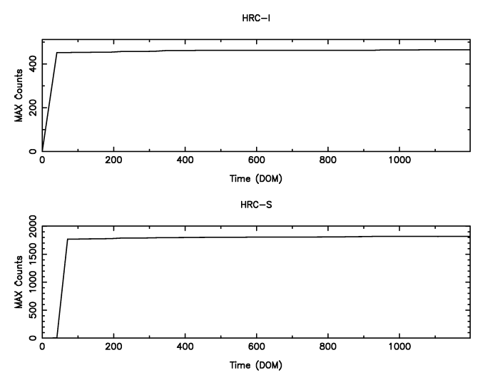
We display a max dose trend plot corrected for events that "pile-up" in the center of the taps due to bad position information.

| Previous Quarter | ||||||
| MSID | MEAN | RMS | DELTA/YR | DELTA/YR/YR | UNIT S | DESCRIPTION |
| 1CRAT | 1.455e+02 | 7.791e-01 | 1.267e-01 | -7.911e-01 | K | COLD RADIATOR TEMP. A |
| 1CRBT | 1.459e+02 | 1.291e+00 | 3.257e-01 | 2.615e+01 | K | COLD RADIATOR TEMP. B |
| 1PIN1AT | 2.887e+02 | 5.028e+00 | 5.804e+00 | -5.614e+01 | K | PSMC TEMP 1A |
| MSID | MEAN | RMS | DELTA/YR | DELTA/YR/YR | UNITS | DESCRIPTION |
| 5EPHINT | 2.960e+02 | 6.089e+00 | 1.391e+01 | -3.503e+02 | K | EPHIN TEMP |
| HKBBIASLEAKI | 4.262e-01 | 1.902e-01 | 7.095e-01 | -8.623e+00 | uA | EPHIN HOUSEKEEPING B-BIAS: LEAKAGE CURRENT (5EHSE500) |
| TEPHIN | 2.962e+02 | 6.369e+00 | 1.442e+01 | -3.746e+02 | K | EPHIN SENSOR HOUSING TEMP |
| MSID | MEAN | RMS | DELTA/YR | DELTA/YR/YR | UNITS | DESCRIPTION |
| 2CHTRPZT | 2.911e+02 | 1.766e+00 | 4.795e+00 | -1.303e+00 | K | CENTRAL ELECTRONICS BOX TEMP |
| 2DTSTATT | 2.881e+02 | 1.695e+00 | 5.113e+00 | 3.341e+00 | K | DETECTOR HOUSING TEMP 1 |
| MSID | MEAN | RMS | DELTA/YR | DELTA/YR/YR | UNIT S | DESCRIPTION |
| BOXTEMP | 2.888e+02 | 1.815e+00 | 8.328e-01 | 2.139e+02 | K | SEA box temperature |
| FAMTRTEMP | 2.797e+02 | 2.303e+00 | 2.713e+00 | 2.769e+02 | K | FA motor temperature |
| TSCMTRTEMP a> | 2.786e+02 | 1.457e+01 | 2.672e+01 | 1.491e+03 | K | TSC motor temperature |
| MSID | MEAN | RMS | DELTA/YR | DELTA/YR/YR | UNITS | DESCRIPTION |
| OOBTHR56 | 2.881e+02 | 8.605e-01 | 8.294e-01 | -4.703e+01 | K | RT 158: OBA CONE |
| OOBTHR57 | 2.860e+02 | 1.542e+00 | 4.275e+00 | 2.455e+01 | K | RT 150: OBA CONE |
| MSID | MEAN | RMS | DELTA/YR | DELTA/YR/YR | UNIT S | DESCRIPTION |
| TCYLAFT1 td> | 2.882e+02 | 3.638e+00 | 1.208e+01 | -1.209e+02 | K | CNT CYL TEMP:16-IN FWD OF SC-TS FIT-1 |
| TCYLAFT6 td> | 2.870e+02 | 4.033e+00 | 1.557e+01 | -6.989e+01 | K | CNT CYL TEMP:16-IN FWD OF SC-TS FIT-6 |
| TMZP_CNT td> | 3.159e+02 | 1.397e+01 | 2.256e+01 | -1.967e+02 | K | -Z PNL TEMP:CENTER |
| MSID | MEAN | RMS | DELTA/YR | DELTA/YR/YR | UNIT S | DESCRIPTION |
| TFSSBKT1 td> | 3.208e+02 | 1.649e+01 | 2.593e+01 | -1.544e+02 | K | FSS BRACKET-1 TEMP (+Y) |
| TFSSBKT2 td> | 3.186e+02 | 1.802e+01 | 2.730e+01 | 3.620e+01 | K | FSS BRACKET-2 TEMP (-Y) |
| TSCIUSF1 td> | 3.010e+02 | 2.813e+01 | 8.182e+01 | 6.399e+02 | K | SC-IUS FITTING-1 TEMP |
| TSCIUSF8 td> | 2.969e+02 | 3.017e+01 | 8.718e+01 | 7.826e+02 | K | SC-IUS FITTING-8 TEMP |
| Motion | Monthly total | Annual Total | Mission Total | Monthly Delta |
|---|---|---|---|---|
| Nov01 thru Oct02 | Jul99 thru Oct02 | current - previous | ||
| SIM | ||||
| SIM FA (STEPS) | 5308.00 | 66032.0 | 286783. | -474.000 |
| SIM TSC (STEPS) | 4.98382e+06 | 6.23901e+07 | 1.89805e+08 | -369841. |
| SIM TSC (# Moves) | 49 | 613 | 1751 | -6 |
| mean SIM TSC at ACIS-I/sdev/# obs | 92903.0/ 0.00000/ 6 | 92903.0/ 0.102062/ 96 | 92948.8/ 223.719/ 292 | 0.00000/ -1 |
| mean SIM TSC at ACIS-S/sdev/# obs | 75543.5/ 309.968/ 15 | 75397.1/ 483.586/ 228 | 75415.0/ 469.095/ 616 | 120.133/ -9 |
| mean SIM TSC at HRC-I/sdev/# obs | 0/ 0.00000/ 0 | -50504.1/ 0.577350/ 27 | -50504.4/ 0.628057/ 101 | 50503.8/ -4 |
| mean SIM TSC at HRC-S/sdev/# obs | -99615.9/ 0.277350/ 13 | -99615.9/ 0.345016/ 146 | -99614.8/ 49.5061/ 460 | -0.195312/ 2 |
| GRATINGS | ||||
| No. HETG insertions | 3.00000 | 50.0000 | 148.000 | 0.00000 |
| No. LETG insertions | 3.00000 | 23.0000 | 84.0000 | 3.00000 |
| mean HETG inserted angles/sdev (A) | 6.21250/ 0.0468750 | 6.30750/ 0.0105612 | 6.58075/ 0.328824 | 0.00000 |
| mean HETG inserted angles/sdev (B) | 5.96250/ 0.00000 | 6.22500/ 0.0301339 | 6.39791/ 0.121749 | 0.00000 |
| mean LETG inserted angles/sdev (A) | 7.08750/ 0.00000 | 7.08750/ 0.00000 | 8.30844/ 5.48003 | *** |
| mean LETG inserted angles/sdev (B) | 4.46250/ 0.00000 | 4.46250/ 0.00000 | 4.54732/ 0.0452412 | *** |
| mean HETG retracted angles/sdev (A) | 79.4625/ 0.00000 | 79.6575/ 0.0358163 | 80.2404/ 0.643033 | 0.00000 |
| mean HETG retracted angles/sdev (B) | 80.4625/ 0.0468750 | 80.5875/ 0.00000 | 80.9626/ 0.465582 | 0.00000 |
| mean LETG retracted angles/sdev (A) | 78.7125/ 0.00000 | 79.0386/ 0.0166749 | 80.0607/ 2.20296 | 0.00000 |
| mean LETG retracted angles/sdev (B) | 77.9625/ 0.00000 | 78.3049/ 0.0116724 | 78.9223/ 0.699233 | 0.00000 |
| Reaction Wheel Rotations | Past 12 Months | Jan00 thru current | ||
| AORWDAY1 | 9.23268e+07 | 9.93478e+08 | 2.76779e+09 | 1.08238e+07 |
| AORWDAY2 | 6.92151e+07 | 9.11803e+08 | 2.64527e+09 | -1.81311e+07 |
| AORWDAY3 | 9.54649e+07 | 1.02328e+09 | 2.92627e+09 | 1.04514e+07 |
| AORWDAY4 | 8.43862e+07 | 9.40233e+08 | 2.72424e+09 | 3.28308e+06 |
| AORWDAY5 | 7.71592e+07 | 9.36253e+08 | 2.66234e+09 | -6.72691e+06 |
| AORWDAY6 | 8.74179e+07 | 9.98523e+08 | 2.90017e+09 | 1.24965e+06 |
| Year | Month | |||||||||||
|---|---|---|---|---|---|---|---|---|---|---|---|---|
| 1999 | Jul | Aug | Sep | Oct | Nov | Dec | ||||||
| 2000 | Jan | Feb | Mar | Apr | May | Jun | Jul | Aug | Sep | Oct | Nov | Dec |
| 2001 | Jan | Feb | Mar | Apr | May | Jun | Jul | Aug | Sep | Oct | Nov | Dec |
| 2002 | Jan | Feb | Mar | Apr | May | Jun | Jul | Aug | Sep | |||