
Statistics: # IMAGE NPIX MEAN RMS MIN MAX ACIS_may02 6004901 7.944 12.458 0.0 5317.0 I2 node 0 262654 6.230710 5.173980 0.0 196.0 I2 node 1 262654 7.232363 9.227457 0.0 302.0 I2 node 2 262654 8.426024 14.004676 0.0 439.0 I2 node 3 262654 9.480115 18.543166 0.0 552.0 I3 node 0 262654 9.798903 18.000201 0.0 514.0 I3 node 1 262654 8.411583 13.384685 0.0 401.0 I3 node 2 262654 7.174816 8.939552 0.0 288.0 I3 node 3 262654 6.073519 4.785715 0.0 177.0 S2 node 0 262397 10.753473 4.368623 0.0 884.0 S2 node 1 262397 13.112959 31.873254 0.0 679.0 S2 node 2 262397 11.387710 6.986763 0.0 2819.0 S2 node 3 262397 10.999291 4.161335 0.0 37.0 S3 node 0 262397 15.133332 5.157878 0.0 123.0 S3 node 1 262397 17.032268 12.194197 0.0 409.0 S3 node 2 262397 15.840840 4.774408 0.0 142.0 S3 node 3 262397 14.871264 4.802431 0.0 374.0
Statistics: IMAGE NPIX MEAN RMS MIN MAX ACIS_total 6004901 295.96 539.66 0.0 450749.0 I2 node 0 262654 183.079157 145.790919 49.0 9358.0 I2 node 1 262654 219.220366 306.527023 122.0 9884.0 I2 node 2 262654 250.870727 473.821162 146.0 13828.0 I2 node 3 262654 271.406002 626.598307 0.0 16964.0 I3 node 0 262654 289.564987 618.170734 149.0 16576.0 I3 node 1 262654 264.823589 461.327220 145.0 13166.0 I3 node 2 262654 222.938231 298.351980 59.0 9547.0 I3 node 3 262654 178.503902 131.498802 0.0 5279.0 S2 node 0 262397 352.716403 337.015758 119.0 51468.0 S2 node 1 262397 446.001086 1138.132230 138.0 22086.0 S2 node 2 262397 401.221527 298.015242 171.0 146479.0 S2 node 3 262397 391.496923 84.299075 0.0 857.0 S3 node 0 262397 762.922903 617.700354 200.0 4644.0 S3 node 1 262397 938.605255 693.530119 0.0 69564.0 S3 node 2 262397 664.711075 168.354451 213.0 3283.0 S3 node 3 262397 563.174895 142.542445 0.0 3403.0
Observations with cold radiator temperature deviation larger than 0.5 C from the nominal value of -127.92905 C are dropped (after DOM 200).
Mean CTI observed when FPT~ -119 C and no testing modes (Squeegy, cuckoo, etc.) (average of 4 nodes per chip). CTI's are computed for Mn K alpha, and defined as slope/intercept x10^4 of row # vs ADU. Data file here



CTI slopes were computed for data point after DOM 200 and inside of 1 sigma deviation. Using only data point in 1 sigma range, we drop high temperature observations, squeegy observations, and other outliers. A independent variable is date, and a dependent variable is CTI. Note: Unit is cti/day from this month report. Front Side Illuminated S Array Node 0 Node 1 Node 2 Node 3 CCD4 9.514e-9 1.189e-8 1.342e-8 1.121e-8 CCD6 1.169e-8 1.364e-8 1.372e-8 1.221e-8 CCD8 9.509e-9 1.050e-8 9.220e-9 8.553e-9 CCD9 1.019e-8 1.270e-8 1.222e-8 8.501e-9 AVG 9.977e-9 Front Side Illuminated I Array Node 0 Node 1 Node 2 Node 3 CCD0 9.513e-9 1.285e-8 1.239e-8 1.008e-8 CCD1 1.004e-8 1.171e-8 1.173e-8 9.433e-9 CCD2 1.034e-8 1.283e-8 1.261e-8 9.037e-9 CCD3 9.764e-9 1.162e-8 1.175e-8 1.029e-8 AVG 1.003e-8 Back Side Illuminated S Array (not detrended) Node 0 Node 1 Node 2 Node 3 CCD5 5.285e-9 6.043e-9 5.546e-9 3.343e-9 AVG: 4.826e-9 CCD7 3.104e-9 4.255e-9 4.453e-9 3.044e-9 AVG 3.803e-9
The Mean (max) FPT: -115.45 std dev: 1.72
mean width: 0.30 std dev: 0.11
| DOY | Focal Temp | S.D. |
|---|---|---|
| 121.61 | -114.38 | 0.37 |
| 124.25 | -114.22 | 0.54 |
| 126.73 | -118.58 | 0.20 |
| 129.55 | -114.22 | 0.38 |
| 134.80 | -114.70 | 0.26 |
| 137.40 | -115.51 | 0.24 |
| 140.01 | -116.80 | 0.28 |
| 142.71 | -118.28 | 0.11 |
| 145.38 | -115.67 | 0.20 |
| 147.98 | -115.02 | 0.31 |
| 150.63 | -112.60 | 0.38 |
Warm pixels consistently showed a bias level more than 5 sigma away the chip's mean level during this period.
Hot Pixels - About five new hot pixels observed this month.
Previously reported:
We define a hot pixel as a pixel with the count
rate 1000 counts above the average

IMAGE NPIX MEAN STDDEV MIN MAX
HRCI_05_2002.fits 16777216 0.00530 0.07370 0.0 5.0
IMAGE NPIX MEAN STDDEV MIN MAX
HRCI_08_1999_05_2002.fits 16777216 1.37074 3.37604 0.0 464.0
IMAGE NPIX MEAN STDDEV MIN MAX
No observation this month
IMAGE NPIX MEAN STDDEV MIN MAX
HRCS_08_1999_05_2002.fits 16777216 4.42420 10.77406 0.0 1819.0
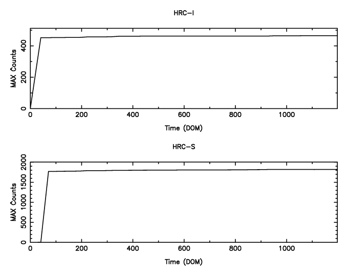
We display a max dose trend plot corrected for events that "pile-up" in the center of the taps due to bad position information.

| Motion | Monthly total | Annual Total | Mission Total | Monthly Delta |
|---|---|---|---|---|
| May01 thru May02 | Jul99 thru May02 | current - previous | ||
| SIM | ||||
| SIM FA (STEPS) | 4974.00 | 65860.0 | 256693. | 214.000 |
| SIM TSC (STEPS) | 5.37886e+06 | 5.76955e+07 | 1.56931e+08 | 150140. |
| SIM TSC (# Moves) | 55 | 520 | 1421 | 2 |
| mean SIM TSC at ACIS-I/sdev/# obs | 92903.1/ 0.333333/ 9 | 92903.0/ 0.109109/ 84 | 92958.9/ 246.735/ 238 | 0.109375/ 3 |
| mean SIM TSC at ACIS-S/sdev/# obs | 75280.6/ 555.554/ 21 | 75435.7/ 455.092/ 179 | 75424.9/ 464.236/ 490 | -76.1484/ 3 |
| mean SIM TSC at HRC-I/sdev/# obs | -50503.5/ 0.707107/ 2 | -50504.3/ 0.591400/ 29 | -50504.4/ 0.618080/ 89 | 0.500000/ -1 |
| mean SIM TSC at HRC-S/sdev/# obs | -99616.0/ 0.00000/ 11 | -99621.5/ 46.6964/ 140 | -99614.5/ 54.2637/ 383 | -0.0781250/ -2 |
| GRATINGS | ||||
| No. HETG insertions | 5.00000 | 40.0000 | 119.000 | 0.00000 |
| No. LETG insertions | 2.00000 | 23.0000 | 73.0000 | 1.00000 |
| mean HETG inserted angles/sdev (A) | 6.33750/ 0.00000 | 6.33750/ 0.00000 | 6.65263/ 0.378932 | 0.00000 |
| mean HETG inserted angles/sdev (B) | 6.33750/ 0.00000 | 6.33750/ 0.00000 | 6.45938/ 0.123283 | 0.00000 |
| mean LETG inserted angles/sdev (A) | 7.08750/ 0.00000 | 7.12011/ 0.0116724 | 8.48750/ 6.04054 | 0.00000 |
| mean LETG inserted angles/sdev (B) | 4.46250/ 0.00000 | 4.46250/ 0.00000 | 4.56010/ 0.0508884 | 0.00000 |
| mean HETG retracted angles/sdev (A) | 79.7625/ 0.0281250 | 79.8375/ 0.00000 | 80.4142/ 0.640654 | 0.00000 |
| mean HETG retracted angles/sdev (B) | 80.5125/ 0.0281250 | 80.5875/ 0.00000 | 81.0531/ 0.536493 | -0.0750046 |
| mean LETG retracted angles/sdev (A) | 79.0875/ 0.00000 | 79.1364/ 0.0166749 | 80.2227/ 2.33192 | 0.00000 |
| mean LETG retracted angles/sdev (B) | 78.3375/ 0.00000 | 78.3375/ 0.00000 | 79.0207/ 0.727900 | 0.00000 |
| Reaction Wheel Rotations | Past 12 Months | Jan00 thru current | ||
| AORWDAY1 | 9.49978e+07 | 9.73826e+08 | 2.33658e+09 | 8.30218e+06 |
| AORWDAY2 | 7.16231e+07 | 9.23700e+08 | 2.24661e+09 | -5.47259e+06 |
| AORWDAY3 | 1.01040e+08 | 1.03677e+09 | 2.48027e+09 | 1.34108e+07 |
| AORWDAY4 | 8.81372e+07 | 9.47370e+08 | 2.31261e+09 | 1.20388e+07 |
| AORWDAY5 | 7.32539e+07 | 9.28905e+08 | 2.25166e+09 | -7.90712e+06 |
| AORWDAY6 | 9.58964e+07 | 1.03312e+09 | 2.46862e+09 | 1.43737e+07 |
| Year | Month | |||||||||||
|---|---|---|---|---|---|---|---|---|---|---|---|---|
| 1999 | Jul | Aug | Sep | Oct | Nov | Dec | ||||||
| 2000 | Jan | Feb | Mar | Apr | May | Jun | Jul | Aug | Sep | Oct | Nov | Dec |
| 2001 | Jan | Feb | Mar | Apr | May | Jun | Jul | Aug | Sep | Oct | Nov | Dec |
| 2002 | Jan | Feb | Mar | Apr | ||||||||