
Statistics: # IMAGE NPIX MEAN RMS MIN MAX ACIS_apr02 6004901 6.133 13.933 0.0 13572.0 I2 node 0 262654 4.685819 4.393234 0.0 166.0 I2 node 1 262654 5.637017 8.493830 0.0 308.0 I2 node 2 262654 6.487889 12.924521 0.0 389.0 I2 node 3 262654 6.754316 16.238332 0.0 472.0 I3 node 0 262654 7.018085 16.442581 0.0 470.0 I3 node 1 262654 6.449344 12.927049 0.0 396.0 I3 node 2 262654 5.364419 8.507104 0.0 302.0 I3 node 3 262654 3.958287 4.026689 0.0 158.0 S2 node 0 262397 7.664078 4.259076 0.0 76.0 S2 node 1 262397 10.038792 27.349570 0.0 540.0 S2 node 2 262397 10.120954 10.357176 0.0 2571.0 S2 node 3 262397 9.655312 8.898565 0.0 110.0 S3 node 0 262397 9.335610 7.195054 0.0 141.0 S3 node 1 262397 13.734620 13.156727 0.0 135.0 S3 node 2 262397 11.891687 11.222230 0.0 141.0 S3 node 3 262397 11.813020 12.276834 0.0 521.0
Statistics: IMAGE NPIX MEAN RMS MIN MAX ACIS_total 6004901 288.02 529.18 0.0 445432.0 I2 node 0 262654 176.848447 141.338597 45.0 9352.0 I2 node 1 262654 211.988003 297.728893 116.0 9609.0 I2 node 2 262654 242.444703 460.147254 140.0 13474.0 I2 node 3 262654 261.925887 608.340511 0.0 16522.0 I3 node 0 262654 279.766084 600.491532 145.0 16114.0 I3 node 1 262654 256.412006 448.291756 139.0 12826.0 I3 node 2 262654 215.763415 289.848878 56.0 9278.0 I3 node 3 262654 172.430384 127.455487 0.0 5119.0 S2 node 0 262397 341.962930 336.721782 116.0 51461.0 S2 node 1 262397 432.888128 1106.839689 133.0 21537.0 S2 node 2 262397 389.833817 292.394344 166.0 143660.0 S2 node 3 262397 380.497631 83.300761 0.0 837.0 S3 node 0 262397 747.789571 617.590596 196.0 4636.0 S3 node 1 262397 921.572987 691.213761 0.0 69544.0 S3 node 2 262397 648.870235 166.970062 207.0 3262.0 S3 node 3 262397 548.303632 141.196480 0.0 3033.0
Observations with cold radiator temperature deviation larger than 0.5 C from the nominal value of -127.92905 C are dropped (after DOM 200).
Mean CTI observed when FPT~ -119 C and no testing modes (Squeegy, cuckoo, etc.) (average of 4 nodes per chip). CTI's are computed for Mn K alpha, and defined as slope/intercept x10^4 of row # vs ADU. Data file here



CTI slopes were computed for data point after DOM 200 and inside of 1 sigma deviation. Using only data point in 1 sigma range, we drop high temperature observations, squeegy observations, and other outliers. A independent variable is date, and a dependent variable is CTI. Note: Unit is cti/day from this month report. Front Side Illuminated S Array Node 0 Node 1 Node 2 Node 3 CCD4 9.767e-9 1.255e-8 1.448e-8 1.234e-8 CCD6 1.178e-8 1.435e-8 1.396e-8 1.263e-8 CCD8 9.577e-9 1.083e-8 9.835e-9 9.042e-9 CCD9 1.063e-8 1.325e-8 1.250e-8 9.043e-9 AVG 9.834e-9 Front Side Illuminated I Array Node 0 Node 1 Node 2 Node 3 CCD0 9.713e-9 1.324e-8 1.283e-8 1.040e-8 CCD1 1.039e-8 1.205e-8 1.238e-8 9.833e-9 CCD2 1.072e-8 1.304e-8 1.290e-8 9.320e-9 CCD3 1.004e-8 1.192e-8 1.214e-8 1.080e-8 AVG 1.034e-8 Back Side Illuminated S Array (not detrended) Node 0 Node 1 Node 2 Node 3 CCD5 5.190e-9 6.288e-9 5.879e-9 3.046e-9 AVG: 4.830e-9 CCD7 3.030e-9 4.457e-9 4.561e-9 2.597e-9 AVG 3.846e-9
The Mean (max) FPT: -114.04 std dev: 2.42
mean width: 0.36 std dev: 0.18
| DOY | Focal Temp | S.D. |
|---|---|---|
| 89.84 | -118.25 | 0.14 |
| 92.42 | -114.05 | 0.80 |
| 95.03 | -114.70 | 0.58 |
| 97.76 | -109.05 | 0.46 |
| 100.36 | -117.12 | 0.21 |
| 103.00 | -114.70 | 0.28 |
| 105.68 | -112.11 | 0.30 |
| 108.36 | -113.25 | 0.24 |
| 110.94 | -114.70 | 0.36 |
| 113.57 | -114.05 | 0.40 |
| 116.22 | -111.63 | 0.39 |
| 118.90 | -114.86 | 0.20 |
Warm pixels consistently showed a bias level more than 5 sigma away the chip's mean level during this period.
Hot Pixels - No new hot pixels observed this month.
Previously reported:
Pixel 1022,166 of Quad 4 CCD 5.
We define a hot pixel as a pixel with the count
rate 1000 counts above the average
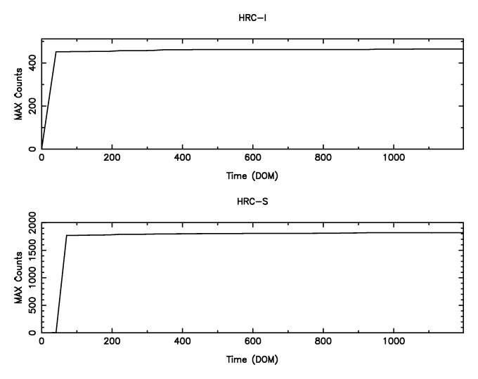
IMAGE NPIX MEAN STDDEV MIN MAX
HRCI_04_2002.fits 16777216 0.02111 0.14904 0.0 8.0
IMAGE NPIX MEAN STDDEV MIN MAX
HRCI_08_1999_04_2002.fits 16777216 1.36544 3.37406 0.0 464.0
IMAGE NPIX MEAN STDDEV MIN MAX
HRCS_04_2002.fits 16777216 0.00263 0.05934 0.0 10.0
IMAGE NPIX MEAN STDDEV MIN MAX
HRCS_08_1999_04_2002.fits 16777216 4.42420 10.77406 0.0 1819.0
We display a max dose trend plot corrected for events that "pile-up" in the center of the taps due to bad position information.

| Plot symbol indicates dispersion arm: | Color indicates observation date: |
Minus side = cross (x) |
2000   blue 2001   yellow 2002   red |
| Motion | Monthly total | Annual Total | Mission Total | Monthly Delta |
|---|---|---|---|---|
| May01 thru Apr02 | Jul99 thru Apr02 | current - previous | ||
| SIM | ||||
| SIM FA (STEPS) | 4906.00 | 65792.0 | 256625. | 146.000 |
| SIM TSC (STEPS) | 5.18634e+06 | 5.75029e+07 | 1.56739e+08 | -42379.0 |
| SIM TSC (# Moves) | 54 | 519 | 1420 | 1 |
| mean SIM TSC at ACIS-I/sdev/# obs | 92903.1/ 0.353553/ 8 | 92903.0/ 0.109764/ 83 | 92959.2/ 247.231/ 237 | 0.125000/ 2 |
| mean SIM TSC at ACIS-S/sdev/# obs | 75280.6/ 555.554/ 21 | 75435.7/ 455.092/ 179 | 75424.9/ 464.236/ 490 | -76.1484/ 3 |
| mean SIM TSC at HRC-I/sdev/# obs | -50503.5/ 0.707107/ 2 | -50504.3/ 0.591400/ 29 | -50504.4/ 0.618080/ 89 | 0.500000/ -1 |
| mean SIM TSC at HRC-S/sdev/# obs | -99616.0/ 0.00000/ 11 | -99621.5/ 46.6964/ 140 | -99614.5/ 54.2637/ 383 | -0.0781250/ -2 |
| GRATINGS | ||||
| No. HETG insertions | 5.00000 | 40.0000 | 119.000 | 0.00000 |
| No. LETG insertions | 2.00000 | 23.0000 | 73.0000 | 1.00000 |
| mean HETG inserted angles/sdev (A) | 6.33750/ 0.00000 | 6.33750/ 0.00000 | 6.65263/ 0.378932 | 0.00000 |
| mean HETG inserted angles/sdev (B) | 6.33750/ 0.00000 | 6.33750/ 0.00000 | 6.45938/ 0.123283 | 0.00000 |
| mean LETG inserted angles/sdev (A) | 7.08750/ 0.00000 | 7.12011/ 0.0116724 | 8.48750/ 6.04054 | 0.00000 |
| mean LETG inserted angles/sdev (B) | 4.46250/ 0.00000 | 4.46250/ 0.00000 | 4.56010/ 0.0508884 | 0.00000 |
| mean HETG retracted angles/sdev (A) | 79.7625/ 0.0281250 | 79.8375/ 0.00000 | 80.4142/ 0.640654 | 0.00000 |
| mean HETG retracted angles/sdev (B) | 80.5125/ 0.0281250 | 80.5875/ 0.00000 | 81.0531/ 0.536493 | -0.0750046 |
| mean LETG retracted angles/sdev (A) | 79.0875/ 0.00000 | 79.1364/ 0.0166749 | 80.2227/ 2.33192 | 0.00000 |
| mean LETG retracted angles/sdev (B) | 78.3375/ 0.00000 | 78.3375/ 0.00000 | 79.0207/ 0.727900 | 0.00000 |
| Reaction Wheel Rotations | Past 12 Months | Jan00 thru current | ||
| AORWDAY1 | 8.66956e+07 | 9.58544e+08 | 2.24158e+09 | -1.07624e+07 |
| AORWDAY2 | 7.70957e+07 | 9.18320e+08 | 2.17499e+09 | 1.24639e+07 |
| AORWDAY3 | 8.76296e+07 | 1.01829e+09 | 2.37923e+09 | -4.34023e+06 |
| AORWDAY4 | 7.60985e+07 | 9.35881e+08 | 2.22448e+09 | 3.62341e+06 |
| AORWDAY5 | 8.11610e+07 | 9.24962e+08 | 2.17840e+09 | -1.95863e+06 |
| AORWDAY6 | 8.15227e+07 | 1.01662e+09 | 2.37273e+09 | 1.04793e+06 |
| Year | Month | |||||||||||
|---|---|---|---|---|---|---|---|---|---|---|---|---|
| 1999 | Jul | Aug | Sep | Oct | Nov | Dec | ||||||
| 2000 | Jan | Feb | Mar | Apr | May | Jun | Jul | Aug | Sep | Oct | Nov | Dec |
| 2001 | Jan | Feb | Mar | Apr | May | Jun | Jul | Aug | Sep | Oct | Nov | Dec |
| 2002 | Jan | Feb | Mar | |||||||||