
Statistics: # IMAGE NPIX MEAN RMS MIN MAX ACIS_jul02 6004901 9.417 13.593 0.0 60099.0 I2 node 0 262654 5.822013 4.247400 0.0 162.0 I2 node 1 262654 6.812670 7.874004 0.0 276.0 I2 node 2 262654 7.726538 11.727063 0.0 374.0 I2 node 3 262654 8.226100 15.170998 0.0 458.0 I3 node 0 262654 8.735561 15.048903 0.0 437.0 I3 node 1 262654 8.326867 11.536211 0.0 363.0 I3 node 2 262654 7.043041 7.630521 0.0 264.0 I3 node 3 262654 5.830678 3.974524 0.0 138.0 S2 node 0 262397 11.539629 3.795226 0.0 80.0 S2 node 1 262397 14.205471 31.117212 0.0 609.0 S2 node 2 262397 12.727261 5.722722 0.0 2062.0 S2 node 3 262397 12.910982 4.115611 0.0 39.0 S3 node 0 262397 27.655091 16.835204 2.0 234.0 S3 node 1 262397 26.940617 15.524998 0.0 351.0 S3 node 2 262397 20.654847 4.862022 1.0 81.0 S3 node 3 262397 18.531428 5.048380 0.0 268.0
Statistics: IMAGE NPIX MEAN RMS MIN MAX ACIS_total 6004901 311.44 564.75 0.0 462553.0 I2 node 0 262654 193.680526 153.633088 54.0 9369.0 I2 node 1 262654 232.277818 323.653170 131.0 10451.0 I2 node 2 262654 266.089799 500.368273 156.0 14636.0 I2 node 3 262654 287.676929 660.855183 0.0 17868.0 I3 node 0 262654 306.441067 651.687865 159.0 17437.0 I3 node 1 262654 280.732888 487.350577 157.0 13843.0 I3 node 2 262654 236.295800 314.920246 63.0 10074.0 I3 node 3 262654 188.863429 138.686945 0.0 5584.0 S2 node 0 262397 372.666593 337.501494 129.0 51486.0 S2 node 1 262397 471.735355 1202.784953 146.0 23235.0 S2 node 2 262397 423.299699 308.195351 184.0 151526.0 S2 node 3 262397 413.486690 87.664809 0.0 917.0 S3 node 0 262397 800.611832 622.035018 219.0 4669.0 S3 node 1 262397 976.510002 700.278600 0.0 69619.0 S3 node 2 262397 694.895982 170.260091 223.0 3318.0 S3 node 3 262397 590.283551 144.996118 0.0 4102.0
Observations with cold radiator temperature deviation larger than 0.5 C from the nominal value of -127.92905 C are dropped (after DOM 200).
Mean CTI observed when FPT~ -119 C and no testing modes (Squeegy, cuckoo, etc.) (average of 4 nodes per chip). CTI's are computed for Mn K alpha, and defined as slope/intercept x10^4 of row # vs ADU. Data file here



CTI slopes were computed for data point after DOM 200 and inside of 1 sigma deviation. Using only data point in 1 sigma range, we drop high temperature observations, squeegy observations, and other outliers. A independent variable is date, and a dependent variable is CTI. Note: Unit is cti/day from this month report. Front Side Illuminated S Array Node 0 Node 1 Node 2 Node 3 CCD4 1.053e-8 1.295e-8 1.434-e8 1.247e-8 CCD6 1.137e-8 1.285e-8 1.270e-8 1.165e-8 CCD8 9.775e-9 1.106e-8 9.415e-9 9.116e-9 CCD9 1.012e-8 1.301e-8 1.250e-8 9.134e-9 AVG 1.049e-8 Front Side Illuminated I Array Node 0 Node 1 Node 2 Node 3 CCD0 1.059e-8 1.241e-8 1.303e-8 1.061e-8 CCD1 1.044e-8 1.264e-8 1.189e-8 9.563e-9 CCD2 1.093e-8 1.345e-8 1.281e-8 9.468e-9 CCD3 1.001e-8 1.159e-8 1.180e-8 1.097e-8 AVG 1.024e-8 Back Side Illuminated S Array (not detrended) Node 0 Node 1 Node 2 Node 3 CCD5 4.848e-9 5.453e-9 4.236e-9 3.330e-9 AVG: 4.527e-9 CCD7 2.827e-9 4.098e-9 4.160e-9 2.812e-9 AVG 3.544e-9
The Mean (max) FPT: -113.11 std dev: 1.85
mean width: 0.42 std dev: 0.18
| DOY | Focal Temp | S.D. |
|---|---|---|
| 182.44 | -114.22 | 0.31 |
| 185.04 | -110.66 | 0.79 |
| 187.75 | -116.15 | 0.25 |
| 190.39 | -114.05 | 0.40 |
| 192.99 | -109.68 | 0.31 |
| 195.69 | -115.02 | 0.30 |
| 198.34 | -111.95 | 0.37 |
| 200.95 | -111.63 | 0.41 |
| 203.60 | -113.57 | 0.30 |
| 206.25 | -111.95 | 0.43 |
| 208.91 | -113.57 | 0.41 |
| 211.57 | -114.86 | 0.81 |
Warm pixels consistently showed a bias level more than 5 sigma away the chip's mean level during this period.
Hot Pixels - About five new hot pixels observed this month.
Previously reported:
We define a hot pixel as a pixel with the count
rate 1000 counts above the average
IMAGE NPIX MEAN STDDEV MIN MAX
HRCI_07_2002.fits 16777216 0.00981 0.10106 0.0 13.0
IMAGE NPIX MEAN STDDEV MIN MAX
HRCI_08_1999_07_2002.fits 16777216 1.39016 3.40766 0.0 465.0
IMAGE NPIX MEAN STDDEV MIN MAX
HRCS_07_2002.fits 16777216 0.07110 0.45050 0.0 38.0
IMAGE NPIX MEAN STDDEV MIN MAX
HRCS_08_1999_07_2002.fits 16777216 4.52482 11.05920 0.0 1819.0
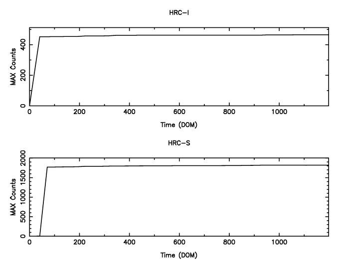
We display a max dose trend plot corrected for events that "pile-up" in the center of the taps due to bad position information.



| Motion | Monthly total | Annual Total | Mission Total | Monthly Delta |
|---|---|---|---|---|
| Jul01 thru Jul02 | Jul99 thru Jul02 | current - previous | ||
| SIM | ||||
| SIM FA (STEPS) | 4726.00 | 65688.0 | 271115. | -2348.00 |
| SIM TSC (STEPS) | 5.76696e+06 | 6.02952e+07 | 1.74058e+08 | -381333. |
| SIM TSC (# Moves) | 64 | 579 | 1601 | -2 |
| mean SIM TSC at ACIS-I/sdev/# obs | 92903.0/ 0.00000/ 9 | 92903.0/ 0.103695/ 93 | 92951.9/ 231.069/ 273 | 0.00000/ -7 |
| mean SIM TSC at ACIS-S/sdev/# obs | 75208.1/ 582.128/ 26 | 75416.7/ 469.031/ 209 | 75414.0/ 471.398/ 556 | -115.422/ 6 |
| mean SIM TSC at HRC-I/sdev/# obs | -50504.5/ 0.707107/ 2 | -50504.2/ 0.611832/ 28 | -50504.4/ 0.623727/ 96 | -0.167969/ -1 |
| mean SIM TSC at HRC-S/sdev/# obs | -99615.9/ 0.363137/ 14 | -99621.4/ 46.2073/ 143 | -99614.7/ 51.6298/ 423 | 0.0703125/ 0 |
| GRATINGS | ||||
| No. HETG insertions | 6.00000 | 48.0000 | 135.000 | 0.00000 |
| No. LETG insertions | 1.00000 | 22.0000 | 79.0000 | -3.00000 |
| mean HETG inserted angles/sdev (A) | 6.33750/ 0.00000 | 6.33750/ 0.00000 | 6.61736/ 0.346141 | 0.00000 |
| mean HETG inserted angles/sdev (B) | 6.11250/ 0.0421875 | 6.30558/ 0.0111876 | 6.43473/ 0.117460 | -0.162500 |
| mean LETG inserted angles/sdev (A) | 7.08750/ 0.00000 | 7.08750/ 0.00000 | 8.38380/ 5.72361 | 0.00000 |
| mean LETG inserted angles/sdev (B) | 4.46250/ 0.00000 | 4.46250/ 0.00000 | 4.55269/ 0.0476509 | 0.00000 |
| mean HETG retracted angles/sdev (A) | 79.4625/ 0.00000 | 79.7515/ 0.0253698 | 80.3153/ 0.641058 | 0.00000 |
| mean HETG retracted angles/sdev (B) | 80.5250/ 0.0234375 | 80.5875/ 0.00000 | 80.9984/ 0.495581 | 0.00000 |
| mean LETG retracted angles/sdev (A) | 78.7125/ 0.00000 | 79.0875/ 0.00000 | 80.1365/ 2.24416 | -0.281250 |
| mean LETG retracted angles/sdev (B) | 78.3375/ 0.00000 | 78.3375/ 0.00000 | 78.9688/ 0.705088 | 0.0937500 |
| Reaction Wheel Rotations | Past 12 Months | Jan00 thru current | ||
| AORWDAY1 | 8.82364e+07 | 9.77790e+08 | 2.50536e+09 | 7.69275e+06 |
| AORWDAY2 | 8.34682e+07 | 9.21080e+08 | 2.40853e+09 | 5.01497e+06 |
| AORWDAY3 | 8.90087e+07 | 1.02641e+09 | 2.65067e+09 | 7.61341e+06 |
| AORWDAY4 | 8.92479e+07 | 9.32158e+08 | 2.47171e+09 | 1.94018e+07 |
| AORWDAY5 | 8.24570e+07 | 9.45462e+08 | 2.42326e+09 | -6.69405e+06 |
| AORWDAY6 | 8.99160e+07 | 1.00585e+09 | 2.63138e+09 | 1.70750e+07 |
| Year | Month | |||||||||||
|---|---|---|---|---|---|---|---|---|---|---|---|---|
| 1999 | Jul | Aug | Sep | Oct | Nov | Dec | ||||||
| 2000 | Jan | Feb | Mar | Apr | May | Jun | Jul | Aug | Sep | Oct | Nov | Dec |
| 2001 | Jan | Feb | Mar | Apr | May | Jun | Jul | Aug | Sep | Oct | Nov | Dec |
| 2002 | Jan | Feb | Mar | Apr | May | Jun | ||||||