
Statistics: # IMAGE NPIX MEAN RMS MIN MAX ACIS_jun02 6004901 6.061 19.081 0.0 30359.0 I2 node 0 262654 4.779356 4.997473 0.0 193.0 I2 node 1 262654 6.244782 10.068023 0.0 338.0 I2 node 2 262654 7.492534 15.449937 0.0 480.0 I2 node 3 262654 8.044827 19.607440 0.0 556.0 I3 node 0 262654 8.140519 19.028883 0.0 532.0 I3 node 1 262654 7.582432 15.167524 0.0 477.0 I3 node 2 262654 6.314528 9.831786 0.0 340.0 I3 node 3 262654 4.528848 4.658590 0.0 191.0 S2 node 0 262397 8.410561 3.432553 0.0 107.0 S2 node 1 262397 11.528798 34.316139 0.0 638.0 S2 node 2 262397 9.350911 7.254542 0.0 2985.0 S2 node 3 262397 9.078785 9.183676 0.0 342.0 S3 node 0 262397 10.033838 7.869273 0.0 291.0 S3 node 1 262397 10.964131 5.960914 0.0 71.0 S3 node 2 262397 9.530059 3.710655 0.0 80.0 S3 node 3 262397 8.577228 3.535401 0.0 431.0
Statistics: IMAGE NPIX MEAN RMS MIN MAX ACIS_total 6004901 302.02 553.37 0.0 457400.0 I2 node 0 262654 187.858513 150.201919 52.0 9363.0 I2 node 1 262654 225.465148 316.249954 126.0 10176.0 I2 node 2 262654 258.363261 488.999175 147.0 14300.0 I2 node 3 262654 279.450829 645.978766 0.0 17477.0 I3 node 0 262654 297.705506 636.962890 151.0 17057.0 I3 node 1 262654 272.406021 476.208685 152.0 13549.0 I3 node 2 262654 229.252758 307.792289 63.0 9856.0 I3 node 3 262654 183.032750 135.577370 0.0 5456.0 S2 node 0 262397 361.126964 337.241103 125.0 51475.0 S2 node 1 262397 457.529884 1171.944073 142.0 22680.0 S2 node 2 262397 410.572438 303.984190 180.0 149464.0 S2 node 3 262397 400.575708 86.716077 0.0 902.0 S3 node 0 262397 772.956741 619.152980 206.0 4650.0 S3 node 1 262397 949.569385 695.526975 0.0 69577.0 S3 node 2 262397 674.241135 169.133386 219.0 3289.0 S3 node 3 262397 571.752124 143.453651 0.0 3834.0
Observations with cold radiator temperature deviation larger than 0.5 C from the nominal value of -127.92905 C are dropped (after DOM 200).
Mean CTI observed when FPT~ -119 C and no testing modes (Squeegy, cuckoo, etc.) (average of 4 nodes per chip). CTI's are computed for Mn K alpha, and defined as slope/intercept x10^4 of row # vs ADU. Data file here



CTI slopes were computed for data point after DOM 200 and inside of 1 sigma deviation. Using only data point in 1 sigma range, we drop high temperature observations, squeegy observations, and other outliers. A independent variable is date, and a dependent variable is CTI. Note: Unit is cti/day from this month report. Front Side Illuminated S Array Node 0 Node 1 Node 2 Node 3 CCD4 9.263e-9 1.181e-8 1.308e-8 1.107e-8 CCD6 1.131e-8 1.313e-8 1.331e-8 1.197e-8 CCD8 9.291e-9 1.043e-8 9.050e-9 8.508e-9 CCD9 9.992e-9 1.236e-8 1.186e-8 8.317e-9 AVG 9.745e-9 Front Side Illuminated I Array Node 0 Node 1 Node 2 Node 3 CCD0 9.354e-9 1.243e-8 1.198e-8 9.838e-9 CCD1 9.547e-9 1.151e-8 1.142e-8 9.096e-9 CCD2 1.003e-8 1.240e-8 1.245e-8 8.807e-9 CCD3 9.474e-9 1.144e-8 1.132e-8 1.004e-8 AVG 9.659e-9 Back Side Illuminated S Array (not detrended) Node 0 Node 1 Node 2 Node 3 CCD5 5.128e-9 5.786e-9 5.538e-9 3.335e-9 AVG: 4.745e-9 CCD7 3.010e-9 4.229e-9 4.447e-9 2.893e-9 AVG 3.739e-9
The Mean (max) FPT: -115.78 std dev: 1.83
mean width: 0.26 std dev: 0.10
| DOY | Focal Temp | S.D. |
|---|---|---|
| 153.34 | -115.83 | 0.27 |
| 155.94 | -117.45 | 0.15 |
| 158.52 | -115.19 | 0.19 |
| 161.28 | -113.25 | 0.35 |
| 163.87 | -119.22 | 0.11 |
| 166.55 | -116.48 | 0.24 |
| 171.86 | -116.80 | 0.27 |
| 174.47 | -114.70 | 0.18 |
| 177.08 | -112.76 | 0.41 |
| 179.80 | -116.15 | 0.42 |
Warm pixels consistently showed a bias level more than 5 sigma away the chip's mean level during this period.
Hot Pixels - About five new hot pixels observed this month.
Previously reported:
We define a hot pixel as a pixel with the count
rate 1000 counts above the average

IMAGE NPIX MEAN STDDEV MIN MAX
HRCI_06_2002.fits 16777216 0.00960 0.11448 0.0 15.0
IMAGE NPIX MEAN STDDEV MIN MAX
HRCI_08_1999_06_2002.fits 16777216 1.38034 3.39904 0.0 465.0
IMAGE NPIX MEAN STDDEV MIN MAX
HRCS_06_2002.fits 16777216 0.02953 0.18204 0.0 13.0
IMAGE NPIX MEAN STDDEV MIN MAX
HRCS_08_1999_06_2002.fits 16777216 4.45373 10.81505 0.0 1819.0
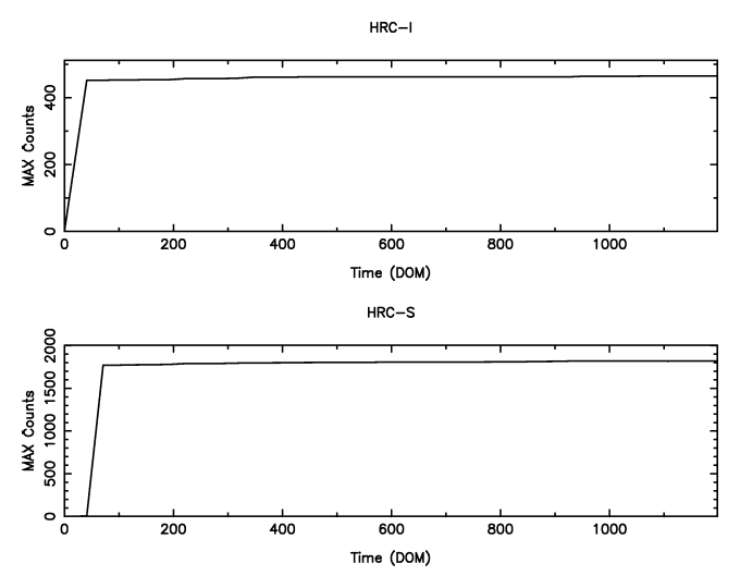
We display a max dose trend plot corrected for events that "pile-up" in the center of the taps due to bad position information.

| Motion | Monthly total | Annual Total | Mission Total | Monthly Delta |
|---|---|---|---|---|
| Jul01 thru Jun02 | Jul99 thru Jun02 | current - previous | ||
| SIM | ||||
| SIM FA (STEPS) | 4328.00 | 66330.0 | 263643. | 1638.00 |
| SIM TSC (STEPS) | 5.01522e+06 | 5.86558e+07 | 1.67158e+08 | -639376. |
| SIM TSC (# Moves) | 57 | 549 | 1528 | 4 |
| mean SIM TSC at ACIS-I/sdev/# obs | 92903.0/ 0.00000/ 16 | 92903.0/ 0.103142/ 94 | 92953.5/ 234.812/ 264 | 0.00000/ 5 |
| mean SIM TSC at ACIS-S/sdev/# obs | 75290.2/ 553.038/ 18 | 75452.9/ 437.682/ 190 | 75423.4/ 464.336/ 528 | -218.969/ -3 |
| mean SIM TSC at HRC-I/sdev/# obs | -50504.0/ 0.00000/ 2 | -50504.2/ 0.601074/ 31 | -50504.4/ 0.626104/ 93 | -0.500000/ 0 |
| mean SIM TSC at HRC-S/sdev/# obs | -99615.9/ 0.316228/ 10 | -99621.6/ 47.0311/ 138 | -99614.6/ 52.7663/ 405 | -0.0546875/ -3 |
| GRATINGS | ||||
| No. HETG insertions | 7.00000 | 44.0000 | 130.000 | 3.00000 |
| No. LETG insertions | 4.00000 | 25.0000 | 78.0000 | 3.00000 |
| mean HETG inserted angles/sdev (A) | 6.33750/ 0.00000 | 6.33750/ 0.00000 | 6.62821/ 0.356486 | 0.00000 |
| mean HETG inserted angles/sdev (B) | 6.27500/ 0.0234375 | 6.32897/ 0.00319602 | 6.44712/ 0.116525 | -0.0625000 |
| mean LETG inserted angles/sdev (A) | 7.08750/ 0.00000 | 7.08750/ 0.00000 | 8.40000/ 5.77452 | 0.00000 |
| mean LETG inserted angles/sdev (B) | 4.46250/ 0.00000 | 4.46250/ 0.00000 | 4.55384/ 0.0481627 | 0.00000 |
| mean HETG retracted angles/sdev (A) | 79.4625/ 0.00000 | 79.7863/ 0.0169464 | 80.3481/ 0.636636 | -0.281250 |
| mean HETG retracted angles/sdev (B) | 80.5339/ 0.0200893 | 80.5875/ 0.00000 | 81.0141/ 0.507903 | 0.0401764 |
| mean LETG retracted angles/sdev (A) | 78.9938/ 0.0351562 | 79.1025/ 0.00562500 | 80.1499/ 2.25883 | 0.281250 |
| mean LETG retracted angles/sdev (B) | 78.2438/ 0.0351562 | 78.3375/ 0.00000 | 78.9769/ 0.709002 | -0.0937500 |
| Reaction Wheel Rotations | Past 12 Months | Jan00 thru current | ||
| AORWDAY1 | 8.05436e+07 | 9.74204e+08 | 2.41712e+09 | -1.44542e+07 |
| AORWDAY2 | 7.84533e+07 | 9.16680e+08 | 2.32507e+09 | 6.83018e+06 |
| AORWDAY3 | 8.13953e+07 | 1.03420e+09 | 2.56166e+09 | -1.96450e+07 |
| AORWDAY4 | 6.98461e+07 | 9.28867e+08 | 2.38246e+09 | -1.82911e+07 |
| AORWDAY5 | 8.91511e+07 | 9.40768e+08 | 2.34081e+09 | 1.58972e+07 |
| AORWDAY6 | 7.28410e+07 | 1.01393e+09 | 2.54146e+09 | -2.30554e+07 |
| Year | Month | |||||||||||
|---|---|---|---|---|---|---|---|---|---|---|---|---|
| 1999 | Jul | Aug | Sep | Oct | Nov | Dec | ||||||
| 2000 | Jan | Feb | Mar | Apr | May | Jun | Jul | Aug | Sep | Oct | Nov | Dec |
| 2001 | Jan | Feb | Mar | Apr | May | Jun | Jul | Aug | Sep | Oct | Nov | Dec |
| 2002 | Jan | Feb | Mar | Apr | May | |||||||