
Statistics: # IMAGE NPIX MEAN RMS MIN MAX ACIS_sep02 6004901 8.775 14.024 0.0 8625.0 I2 node 0 262654 5.570005 7.444376 0.0 3058.0 I2 node 1 262654 6.828790 8.558143 0.0 298.0 I2 node 2 262654 7.710852 12.730696 0.0 375.0 I2 node 3 262654 8.122564 16.211485 0.0 464.0 I3 node 0 262654 9.761241 19.535801 0.0 547.0 I3 node 1 262654 9.199951 15.123150 0.0 466.0 I3 node 2 262654 7.832822 9.850652 0.0 346.0 I3 node 3 262654 6.188290 4.754566 0.0 189.0 S2 node 0 262397 11.578383 9.978624 0.0 4721.0 S2 node 1 262397 14.194286 34.369783 0.0 696.0 S2 node 2 262397 12.259637 5.798850 0.0 2147.0 S2 node 3 262397 11.573574 3.850599 0.0 33.0 S3 node 0 262397 18.129220 5.386962 1.0 150.0 S3 node 1 262397 22.318456 13.267715 0.0 423.0 S3 node 2 262397 18.985350 4.516520 3.0 44.0 S3 node 3 262397 17.969847 4.815526 0.0 153.0
Statistics: IMAGE NPIX MEAN RMS MIN MAX ACIS_total 6004901 327.886 588.43 0.0 474514.0 I2 node 0 262654 202.147133 160.175920 57.0 9376.0 I2 node 1 262654 242.732683 337.628076 136.0 10911.0 I2 node 2 262654 278.169348 521.803027 163.0 15242.0 I2 node 3 262654 300.687646 688.831855 0.0 18614.0 I3 node 0 262654 323.703625 685.762410 170.0 18338.0 I3 node 1 262654 297.060524 513.122579 169.0 14537.0 I3 node 2 262654 249.920340 331.506843 68.0 10603.0 I3 node 3 262654 199.174073 145.728551 0.0 5860.0 S2 node 0 262397 391.006963 338.145673 134.0 51509.0 S2 node 1 262397 495.261672 1263.560787 158.0 24361.0 S2 node 2 262397 443.899618 314.776939 186.0 154694.0 S2 node 3 262397 435.065999 89.727792 0.0 972.0 S3 node 0 262397 842.750413 623.766667 230.0 4711.0 S3 node 1 262397 1039.434578 713.492267 0.0 69714.0 S3 node 2 262397 733.483279 182.973282 242.0 27308.0 S3 node 3 262397 619.314504 147.606531 0.0 4477.0
Observations with cold radiator temperature deviation larger than 0.5 C from the nominal value of -127.92905 C are dropped (after DOM 200).
Mean CTI observed when FPT~ -119 C and no testing modes (Squeegy, cuckoo, etc.) (average of 4 nodes per chip). CTI's are computed for Mn K alpha, and defined as slope/intercept x10^4 of row # vs ADU. Data file here



CTI slopes were computed for data point after DOM 200 and inside of 1 sigma deviation. Using only data point in 1 sigma range, we drop high temperature observations, squeegy observations, and other outliers. A independent variable is date, and a dependent variable is CTI. Note: Unit is cti/day from this month report. Front Side Illuminated S Array Node 0 Node 1 Node 2 Node 3 CCD4 9.185e-9 1.193e-8 1.287-e8 1.089e-8 CCD6 1.068e-8 1.253e-8 1.251e-8 1.120e-8 CCD8 8.875e-9 9.783e-9 8.477e-9 8.157e-9 CCD9 9.518e-9 1.219e-8 1.167e-8 8.0623-9 AVG 9.924e-9 Front Side Illuminated I Array Node 0 Node 1 Node 2 Node 3 CCD0 8.788e-9 1.167e-8 1.136e-8 9.307e-9 CCD1 8.892e-9 1.090e-8 1.053e-8 8.432e-9 CCD2 9.448e-9 1.159e-8 1.171e-8 8.380e-9 CCD3 8.788e-9 1.081e-8 1.069e-8 9.443e-9 AVG 9.237e-9 Back Side Illuminated S Array (not detrended) Node 0 Node 1 Node 2 Node 3 CCD5 4.784e-9 5.336e-9 5.082e-9 3.230e-9 AVG: 4.407e-9 CCD7 2.715e-9 4.088e-9 4.131e-9 2.813e-9 AVG 3.498e-9
The Mean (max) FPT: -116.67 std dev: 1.28
mean width: 0.49 std dev: 0.13
| DOY | Focal Temp | S.D. |
|---|---|---|
| 244.80 | -119.06 | 0.82 |
| 245.96 | -116.32 | 0.51 |
| 248.65 | -115.51 | 0.50 |
| 251.27 | -114.22 | 0.40 |
| 253.88 | -117.28 | 0.34 |
| 256.58 | -115.67 | 0.54 |
| 259.20 | -117.28 | 0.48 |
| 261.88 | -117.61 | 0.37 |
| 264.67 | -118.09 | 0.62 |
| 267.14 | -115.35 | 0.36 |
| 269.81 | -116.96 | 0.42 |
| 272.48 | -116.64 | 0.46 |
Warm pixels consistently showed a bias level more than 5 sigma away the chip's mean level during this period.
Hot Pixels - About five new hot pixels observed this month.
Previously reported:
We define a hot pixel as a pixel with the count
rate 1000 counts above the average

CTI Obs
Sci Obs
IMAGE NPIX MEAN STDDEV MIN MAX
HRCI_09_2002.fits 16777216 0.01741 0.157460 0.0 15.0
IMAGE NPIX MEAN STDDEV MIN MAX
HRCI_08_1999_09_2002.fits 16777216 1.42135 3.45826 0.0 465.0
IMAGE NPIX MEAN STDDEV MIN MAX
HRCS_08_2002.fits 16777216 0.01307 0.11500 0.0 3.0
IMAGE NPIX MEAN STDDEV MIN MAX
HRCS_08_1999_09_2002.fits 16777216 4.60737 11.13811 0.0 1821.0
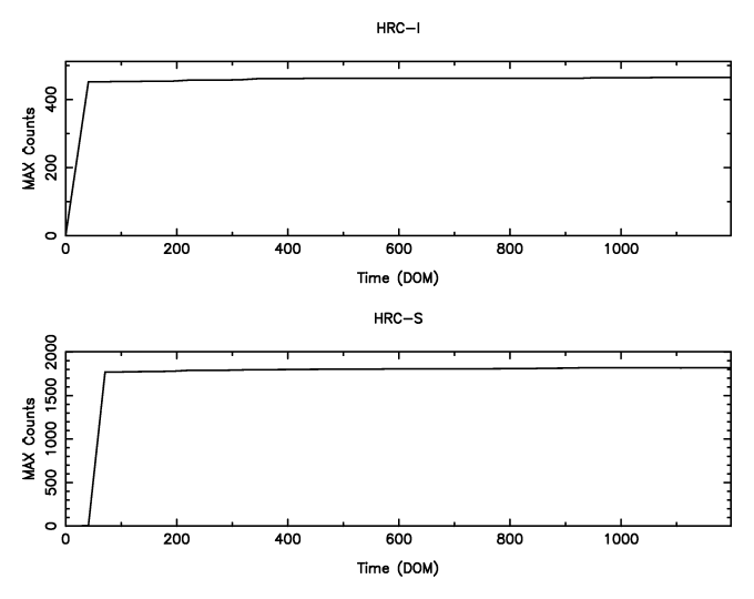
We display a max dose trend plot corrected for events that "pile-up" in the center of the taps due to bad position information.

| Motion | Monthly total | Annual Total | Mission Total | Monthly Delta |
|---|---|---|---|---|
| Sep01 thru Sep02 | Jul99 thru Sep02 | current - previous | ||
| SIM | ||||
| SIM FA (STEPS) | 5782.00 | 64364.0 | 281475. | 1204.00 |
| SIM TSC (STEPS) | 5.35366e+06 | 6.13921e+07 | 1.84821e+08 | -230049. |
| SIM TSC (# Moves) | 54 | 590 | 1701 | 7 |
| mean SIM TSC at ACIS-I/sdev/# obs | 92903.0/ 0.00000/ 7 | 92903.0/ 0.103142/ 94 | 92949.7/ 225.964/ 286 | 0.00000/ 1 |
| mean SIM TSC at ACIS-S/sdev/# obs | 75414.6/ 464.993/ 23 | 75395.3/ 485.371/ 221 | 75411.4/ 472.422/ 600 | 77.0781/ 2 |
| mean SIM TSC at HRC-I/sdev/# obs | -50503.8/ 0.500000/ 4 | -50504.1/ 0.580894/ 29 | -50504.4/ 0.628057/ 101 | 0.250000/ 3 |
| mean SIM TSC at HRC-S/sdev/# obs | -99615.7/ 0.467099/ 11 | -99615.9/ 0.349093/ 142 | -99614.8/ 50.2219/ 447 | 0.0625000/ -3 |
| GRATINGS | ||||
| No. HETG insertions | 3.00000 | 49.0000 | 145.000 | -1.00000 |
| No. LETG insertions | 0.00000 | 22.0000 | 81.0000 | -1.00000 |
| mean HETG inserted angles/sdev (A) | 6.21250/ 0.0468750 | 6.31454/ 0.00825096 | 6.58837/ 0.332138 | 0.0250001 |
| mean HETG inserted angles/sdev (B) | 5.96250/ 0.00000 | 6.24566/ 0.0265466 | 6.40686/ 0.120265 | 0.00000 |
| mean LETG inserted angles/sdev (A) | 0.00000/ 0.00000 | 7.08750/ 0.00000 | 8.35256/ 5.62401 | *** |
| mean LETG inserted angles/sdev (B) | 0.00000/ 0.00000 | 4.46250/ 0.00000 | 4.55046/ 0.0466581 | *** |
| mean HETG retracted angles/sdev (A) | 79.4625/ 0.00000 | 79.6768/ 0.0351562 | 80.2565/ 0.643561 | 0.00000 |
| mean HETG retracted angles/sdev (B) | 80.4625/ 0.0468750 | 80.5875/ 0.00000 | 80.9703/ 0.472247 | -0.125000 |
| mean LETG retracted angles/sdev (A) | 78.7125/ 0.00000 | 79.0705/ 0.00639205 | 80.1060/ 2.22621 | 0.00000 |
| mean LETG retracted angles/sdev (B) | 77.9625/ 0.00000 | 78.3375/ 0.00000 | 78.9532/ 0.697180 | 0.00000 |
| Reaction Wheel Rotations | Past 12 Months | Jan00 thru current | ||
| AORWDAY1 | 8.15030e+07 | 9.83535e+08 | 2.67546e+09 | -7.09116e+06 |
| AORWDAY2 | 8.73462e+07 | 9.31432e+08 | 2.57605e+09 | 7.17325e+06 |
| AORWDAY3 | 8.50135e+07 | 1.02979e+09 | 2.83080e+09 | -1.01050e+07 |
| AORWDAY4 | 8.11031e+07 | 9.34663e+08 | 2.63985e+09 | -5.93983e+06 |
| AORWDAY5 | 8.38861e+07 | 9.51507e+08 | 2.58518e+09 | 5.85444e+06 |
| AORWDAY6 | 8.61683e+07 | 1.00940e+09 | 2.81276e+09 | -9.03852e+06 |
| Year | Month | |||||||||||
|---|---|---|---|---|---|---|---|---|---|---|---|---|
| 1999 | Jul | Aug | Sep | Oct | Nov | Dec | ||||||
| 2000 | Jan | Feb | Mar | Apr | May | Jun | Jul | Aug | Sep | Oct | Nov | Dec |
| 2001 | Jan | Feb | Mar | Apr | May | Jun | Jul | Aug | Sep | Oct | Nov | Dec |
| 2002 | Jan | Feb | Mar | Apr | May | Jun | Jul | Aug | ||||