
Statistics: # IMAGE NPIX MEAN RMS MIN MAX ACIS Mar03 6004901 7.851 20.322 0.0 37764.0 I2 Node 0 262654 5.479391 4.735589 0.0 168.0 I2 Node 1 262654 6.587179 8.804329 0.0 305.0 I2 Node 2 262654 7.511521 13.389416 0.0 394.0 I2 Node 3 262654 8.152432 17.156435 0.0 503.0 I3 Node 0 262654 8.123478 16.748288 0.0 501.0 I3 Node 1 262654 7.299592 12.719946 0.0 398.0 I3 Node 2 262654 6.325078 8.522193 0.0 277.0 I3 Node 3 262654 5.109185 4.350224 0.0 169.0 S2 Node 0 262397 9.943323 4.065224 0.0 221.0 S2 Node 1 262397 12.364676 29.956557 0.0 590.0 S2 Node 2 262397 10.781366 6.721263 0.0 2316.0 S2 Node 3 262397 10.914252 4.315635 0.0 47.0 S3 Node 0 262397 16.095588 7.422229 0.0 166.0 S3 Node 1 262397 20.133294 8.489734 0.0 141.0 S3 Node 2 262397 20.091000 7.874727 1.0 115.0 S3 Node 3 262397 14.349131 5.250872 0.0 458.0
Statistics: IMAGE NPIX MEAN RMS MIN MAX ACIS_total 6004901 281.89 517.78 0.0 432150.0 I2 node 0 262654 172.162628 137.633126 42.0 9347.0 I2 node 1 262654 206.350986 289.608582 112.0 9349.0 I2 node 2 262654 235.956814 447.501860 134.0 13122.0 I2 node 3 262654 255.171572 592.337095 0.0 16147.0 I3 node 0 262654 272.747999 584.301649 145.0 15680.0 I3 node 1 262654 249.962662 435.646314 136.0 12459.0 I3 node 2 262654 210.398996 281.695820 53.0 9016.0 I3 node 3 262654 168.472096 124.002768 0.0 4975.0 S2 node 0 262397 334.298853 336.465215 112.0 51453.0 S2 node 1 262397 422.849335 1079.92983 128.0 21058.0 S2 node 2 262397 379.712863 286.555800 157.0 141089.0 S2 node 3 262397 370.842319 78.759360 0.0 811.0 S3 node 0 262397 738.453961 617.352632 192.0 4627.0 S3 node 1 262397 907.838367 684.831452 0.0 69530.0 S3 node 2 262397 636.978548 165.064466 199.0 3252.0 S3 node 3 262397 536.490612 137.996398 0.0 3025.0
Observations with cold radiator temperature deviation larger than 0.5 C from the nominal value of -127.92905 C are dropped (after DOM 200).
Mean CTI observed when FPT~ -119 C and no testing modes (Squeegy, cuckoo, etc.) (average of 4 nodes per chip). CTI's are computed for Mn K alpha, and defined as slope/intercept x10^4 of row # vs ADU. Data file here



CTI slopes were computed for data point after DOM 200 and inside of 1 sigma deviation. Using only data point in 1 sigma range, we drop high temperature observations, squeegy observations, and other outliers. A independent variable is date, and a dependent variable is CTI. Note: Unit is cti/day from this month report. Front Side Illuminated S Array Node 0 Node 1 Node 2 Node 3 CCD4 1.117e-8 1.430e-8 1.551e-8 1.352e-8 CCD6 1.187e-8 1.401e-8 1.357e-8 1.284e-8 CCD8 R1.046-8 1.142e-8 1.035e-8 9.714e-9 CCD9 1.117e-8 1.410e-8 1.330e-8 9.883e-9 AVG 1.072e-8 Front Side Illuminated I Array Node 0 Node 1 Node 2 Node 3 CCD0 1.091e-8 1.435e-8 1.408e-8 1.146e-8 CCD1 1.122e-8 1.276e-8 1.330e-8 1.041e-8 CCD2 1.138e-8 1.371e-8 1.345e-8 9.993e-9 CCD3 1.117e-8 1.430e-8 1.551e-8 1.352e-8 AVG 1.111e-8 Detrended AVG 1.086e-8 Back Side Illuminated S Array Node 0 Node 1 Node 2 Node 3 CCD5 5.288e-9 6.276e-9 5.979e-9 3.077e-9 AVG: 4.876e-9 CCD7 3.136e-9 4.588e-9 4.586e-9 3.044e-9 AVG 3.873e-9
The Mean (max) FPT: -114.99 std dev: 2.47
mean width: 0.69 std dev: 0.22
| DOY | Focal Temp | S.D. |
|---|---|---|
| 60.70 | -110.33 | 1.15 |
| 63.32 | -114.54 | 0.33 |
| 65.05 | -118.90 | 0.74 |
| 65.98 | -113.08 | 0.37 |
| 67.75 | -119.06 | 0.20 |
| 68.58 | -114.86 | 0.54 |
| 71.20 | -116.96 | 0.50 |
| 73.91 | -114.54 | 0.36 |
| 76.60 | -110.17 | 0.40 |
| 79.17 | -113.41 | 0.44 |
| 81.46 | -118.09 | 1.18 |
| 84.55 | -109.85 | 0.42 |
| 87.15 | -112.44 | 0.35 |
Warm pixels consistently showed a bias level more than 5 sigma away the chip's mean level during this period.
Hot Pixels - No new hot pixels observed this month.
Previously reported:
Pixel 1022,166 of Quad 4 CCD 5.
We define a hot pixel as a pixel with the count
rate 1000 counts above the average
The following plots are the difference between coordinates obtained from Chandra observations and those obtained from existing catalogs vs time in day of mission.
The following steps are taken to generate these plots
* all observations with grating are selected
* observed ra, dec, target ra, dec, nominal ra, dec and a ratio of a target elliptical to psf (psfratio) are extracted from src fits files.
* the observations with psfratio smaller than 4 are selected
* the differences between observed coordinates and targeted coordinates are computed
* if the differences are larger than 6 arcsec, the points are dropped
IMAGE NPIX MEAN STDDEV MIN MAX
HRCI_03_2002.fits 16777216 0.01604 0.13264 0.0 10.0
IMAGE NPIX MEAN STDDEV MIN MAX
HRCI_08_1999_03_2002.fits 16777216 1.34433 3.35718 0.0 464.0
IMAGE NPIX MEAN STDDEV MIN MAX
HRCS_03_2002.fits 16777216 0.01380 0.11819 0.0 4.0
IMAGE NPIX MEAN STDDEV MIN MAX
HRCS_08_1999_03_2002.fits 16777216 4.42157 10.77327 0.0 1819.0
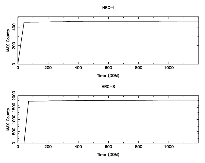
From this month, we display a max dose trend plot corrected for events that "pile-up" in the center of the taps due to bad position information. Because of this correction, count rates are much lower than the previous month (see Feb plot).
We plot the width of the zero order streak of ACIS/HETG observations and
the width of the zero order image for HRC/LETG observations of point sources.
No significant defocusing trend is seen at this time. See
Gratings Focus
pages.

| Motion | Monthly total | Annual Total | Mission Total | Monthly Delta |
|---|---|---|---|---|
| Mar01 thru Mar02 | Jul99 thru Mar02 | current - previous | ||
| SIM | ||||
| SIM FA (STEPS) | 4828.00 | 62996.0 | 251787. | -1280.00 |
| SIM TSC (STEPS) | 5.24786e+06 | 5.76693e+07 | 1.51572e+08 | 1.04111e+06 |
| SIM TSC (# Moves) | 54 | 500 | 1367 | 12 |
| mean SIM TSC at ACIS-I/sdev/# obs | 92903.0/ 0.00000/ 6 | 92903.0/ 0.00000/ 77 | 92961.1/ 251.306/ 229 | 0.00000/ -1 |
| mean SIM TSC at ACIS-S/sdev/# obs | 75356.7/ 513.153/ 18 | 75447.9/ 444.484/ 171 | 75431.4/ 459.372/ 469 | -106.883/ 3 |
| mean SIM TSC at HRC-I/sdev/# obs | -50504.0/ 0.00000/ 3 | -50504.3/ 0.554700/ 27 | -50504.4/ 0.604271/ 87 | 0.332031/ 0 |
| mean SIM TSC at HRC-S/sdev/# obs | -99615.9/ 0.277350/ 13 | -99621.5/ 46.5325/ 141 | -99614.5/ 55.0618/ 372 | -0.125000/ 3 |
| GRATINGS | ||||
| No. HETG insertions | 5.00000 | 37.0000 | 114.000 | 3.00000 |
| No. LETG insertions | 2.00000 | 23.0000 | 72.0000 | 2.00000 |
| mean HETG inserted angles/sdev (A) | 6.33750/ 0.00000 | 6.33750/ 0.00000 | 6.66645/ 0.391114 | 0.00000 |
| mean HETG inserted angles/sdev (B) | 6.33750/ 0.00000 | 6.33750/ 0.00000 | 6.46468/ 0.128010 | 0.00000 |
| mean LETG inserted angles/sdev (A) | 7.08750/ 0.00000 | 7.12159/ 0.0121753 | 8.52586/ 6.15240 | *** |
| mean LETG inserted angles/sdev (B) | 4.46250/ 0.00000 | 4.46250/ 0.00000 | 4.56285/ 0.0520623 | *** |
| mean HETG retracted angles/sdev (A) | 79.7625/ 0.0281250 | 79.8375/ 0.00000 | 80.4395/ 0.653640 | 0.112495 |
| mean HETG retracted angles/sdev (B) | 80.5875/ 0.00000 | 80.5875/ 0.00000 | 81.0734/ 0.550099 | 0.00000 |
| mean LETG retracted angles/sdev (A) | 79.0875/ 0.00000 | 79.1364/ 0.0166749 | 80.2385/ 2.34636 | 0.375000 |
| mean LETG retracted angles/sdev (B) | 78.3375/ 0.00000 | 78.3375/ 0.00000 | 79.0302/ 0.731486 | 0.375000 |
| Reaction Wheel Rotations | Past 12 Months | Jan00 thru current | ||
| AORWDAY1 | 9.74581e+07 | 9.49119e+08 | 2.15489e+09 | 4.96398e+07 |
| AORWDAY2 | 6.46318e+07 | 9.12695e+08 | 2.09789e+09 | 1.54812e+07 |
| AORWDAY3 | 9.19698e+07 | 1.01358e+09 | 2.29160e+09 | 3.91723e+07 |
| AORWDAY4 | 7.24751e+07 | 9.34823e+08 | 2.14838e+09 | 2.64385e+07 |
| AORWDAY5 | 8.31197e+07 | 9.17556e+08 | 2.09724e+09 | 3.21836e+07 |
| AORWDAY6 | 8.04747e+07 | 1.01553e+09 | 2.29120e+09 | 2.95189e+07 |
| Year | Month | |||||||||||
|---|---|---|---|---|---|---|---|---|---|---|---|---|
| 1999 | Jul | Aug | Sep | Oct | Nov | Dec | ||||||
| 2000 | Jan | Feb | Mar | Apr | May | Jun | Jul | Aug | Sep | Oct | Nov | Dec |
| 2001 | Jan | Feb | Mar | Apr | May | Jun | Jul | Aug | Sep | Oct | Nov | Dec |
| 2002 | Jan | Feb | ||||||||||